订阅邮件推送
获取我们最新的更新
又一家银行拿到资格!市场规模不断提升,机构竞相布局基金托管业务
据中国证券报记者统计,今年以来,共有3家中资银行获得基金托管资格。若加上券商,今年共有5家金融机构获批。与此同时,还有11家机构正排队申请基金托管资格。

图片来源:证监会
业内人士指出,近年来银行、券商等机构加速布局基金托管业务,未来能够向基金客户提供更专业高效的服务,费率上具有优势的机构有望获取更多的市场份额。
今年以来3家中资银行基金托管资格获批
8月7日晚,成都银行发布公告称,该行已于近日取得证监会批复,根据批复,该行的证券投资基金托管资格已获核准。成都银行表示,将根据该批复在换领经营证券期货业务许可证后,对外开展基金托管业务。

图片来源:公司公告
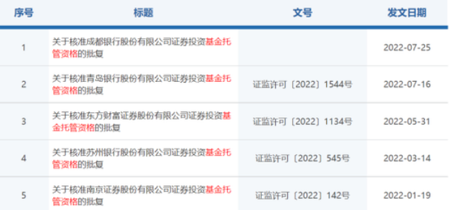
据悉,证监会于2021年3月接收成都银行关于证券投资基金托管资格的申请材料,今年7月25日发布核准批复。中国证券报记者注意到,证监会官网显示,今年已有苏州银行、青岛银行、成都银行3家中资银行获得证券投资基金托管资格,这三家中资银行均为城商行。
在上述3家银行证券投资基金托管资格获批前,据中国证券投资基金业协会官网显示,共有58家金融机构具有基金托管资格,其中银行29家。

图片来源:中国证券投资基金业协会
具体来看,中资银行有26家,包括工商银行、农业银行、中国银行、建设银行、交通银行、华夏银行、光大银行、招商银行、中信银行、民生银行、兴业银行、浦发银行、北京银行、平安银行、广发银行、邮储银行、上海银行、渤海银行、宁波银行、浙商银行、徽商银行、广州农商行、恒丰银行、杭州银行、南京银行、江苏银行。外资银行有3家,分别为渣打银行(中国)、花旗银行(中国)、德意志银行(中国)。
加上苏州银行、青岛银行、成都银行,目前合计已有32家银行获得基金托管牌照。另据证监会官网资料,11家机构正排队申请基金托管资格,其中包括3家中资银行和2家外资银行。3家中资银行是蒙商银行、重庆农商银行、上海农商银行;2家外资银行则是汇丰银行(中国)、法国巴黎银行(中国)。
机构加速布局基金托管业务
近年来,随着基金市场规模的不断壮大,越来越多的银行进军基金托管行业。对于银行而言,获得证券投资基金托管资格有助于增加中间业务收入,成为做大做强财富管理板块的一大着力点。
根据民生证券统计,2021年基金托管资产共25.2万亿元,托管费用合计289亿元,同比增长44%。若按照费用结构看,银行系收取的托管费用达到285.6亿元,占据绝大部分市场份额。
上海金融与发展实验室主任曾刚此前在接受中国证券报记者采访时表示,托管业务属于银行重要的中收业务,收取账户管理等服务费,在利率市场化背景下,可拓宽银行的收入来源而不损耗任何资本、不给银行带来额外风险,对于优化业务结构、拓展业务空间是有好处的。其次,虽然其直接收入并不多,但带来的业务往来可拓展与基金在其他业务上的合作,如投贷联动等,增加合作的平台基础。
值得一提的是,除中资银行,外资银行也在不断入局基金托管市场。“在某些基金托管领域,外资银行有优势。资本市场扩大开放,债券市场、股票市场都在大力吸引外资投资人特别是机构投资人,如QFII,这类基金未来会越来越多。对于这类投资人,这些外资银行可能以前就是其服务行,所以说外资银行在服务外资基金投资者等细分市场上是有优势的。”曾刚进一步称。
除银行外,券商也在加速入场,今年6月,被市场誉为“券茅”的东方财富证券正式拿下基金托管资格,成为今年第二家获批该资格的券商。分析人士指出,近年来银行、券商等机构加速申请基金托管资格,未来能够向基金客户提供更专业高效服务且费率上具有优势的机构有望获取更多的市场份额。
平安证券分析师贾志认为,低托管费率策略不具备可持续性,建议托管机构应结合自身优势,考虑基金特点针对性布局。同时,借力第三方代销机构发展托管业务,用专业技能发展基金投顾,增强客户粘性,并将托管业务作为综合金融的一环,打造一站式服务。
相关
Relevant